Ford patent reveals hands-free charging tech

Maxene London
  • Sign in required

    Please sign in to your account to add a vehicle to favourite

  • Share this article

Photo / Supplied

Photo / Supplied

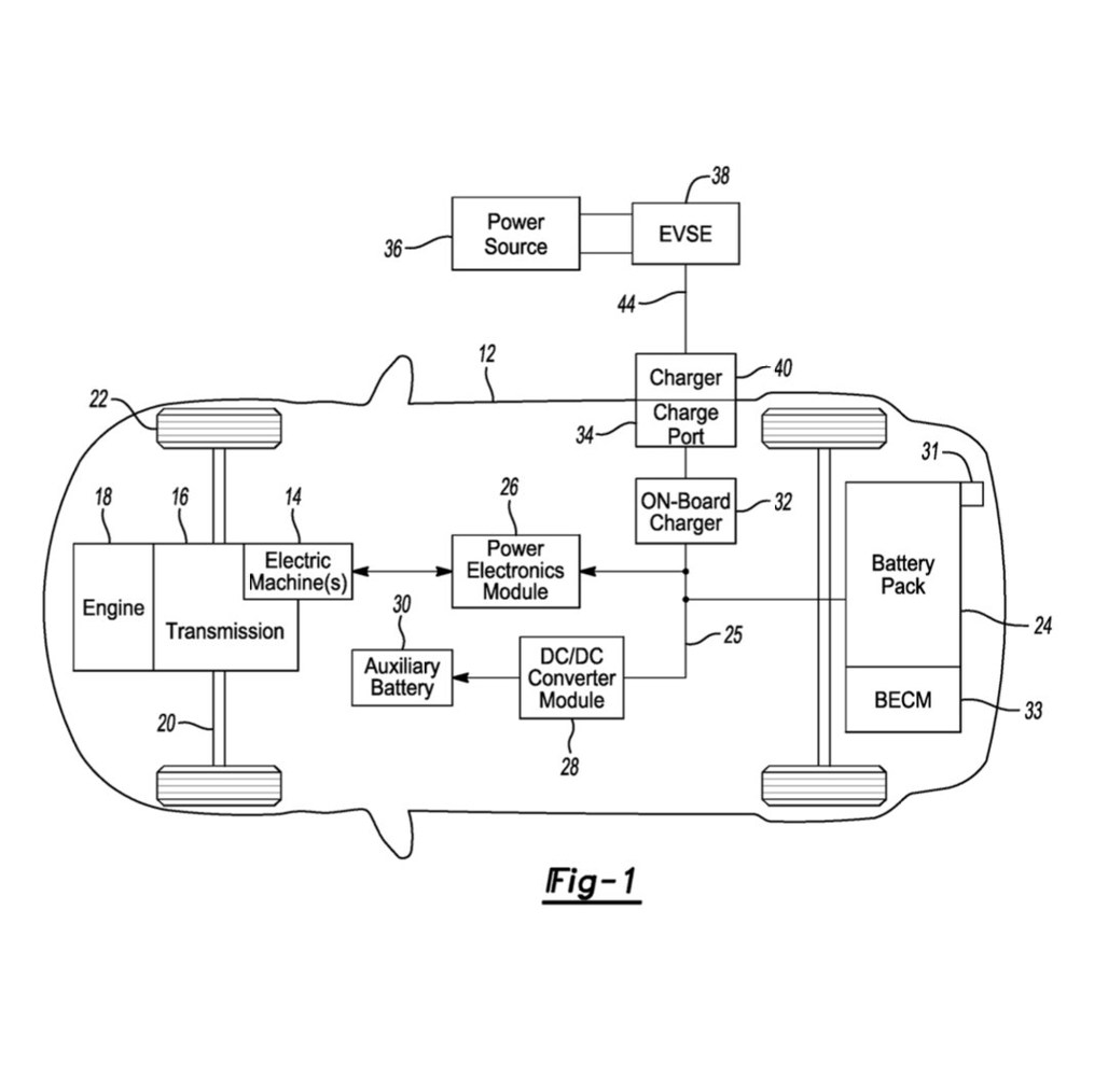
A patent submitted by Ford in August 2020 has recently surfaced online and shows that the company could be planning some sort of hands-free charging tech. 

The patent was published by the United States Patent Office on March 3 this year, and would apply to both PHEV (plug-in electric vehicles) and BEVs (battery electric vehicles). 

It's not a drive over pad like some wireless charging technology we've seen other automakers developing. These chargers act similar to wireless phone chargers, which are quite a lot slower than plugging in.

Rather, that patent discusses a device that uses the factory charge port and a fairly traditional charger cord, but would essentially connect the cord to the car for you instead of requiring a person to do the job.

A few years ago, Tesla tested a robotic charging snake, which sounds similar to what Ford may be attempting here. However, Tesla's version never made it to production. 

The patent doesn't give us a whole lot of information, but the idea sounds like it might fold out from a normally compact position. It would certainly make charging easier if a driver could just park up the vehicle and the autonomous charging station does the rest for you. 

Whether this idea from Ford makes it to production is unclear, but as EVs become more and more common, we'll surely see more innovations to make the process that much easier. We're already seeing multiple automakers working on wireless charging solutions. 

 

Gallery